- Merken en modellen
- Merken en modellen
- Merkstrategie & beheerPortefeuillestrategie
- MerkbeschikbaarheidsonderzoekScreening & clearance
- MerkregistratieMerkbescherming
- Bewaking en inbreukWereldwijde monitoring
- Monitoring en handhavingOnline & offline
- Vernieuwingen en registerwijzigingenVerlengingen & wijzigingen
- Merkstrategie & beheer
- IE-consultancyAudits, licenties, M&A
- MKB & Start-upsGerichte ondersteuning
- IE-consultancy
- Octrooien
- Oplossingen
- Merken en modellen
- Merken en modellen
- Merkstrategie & beheerPortefeuillestrategie
- MerkbeschikbaarheidsonderzoekScreening & clearance
- MerkregistratieMerkbescherming
- Bewaking en inbreukWereldwijde monitoring
- Monitoring en handhavingOnline & offline
- Vernieuwingen en registerwijzigingenVerlengingen & wijzigingen
- Merkstrategie & beheer
- IE-consultancyAudits, licenties, M&A
- MKB & Start-upsGerichte ondersteuning
- IE-consultancy
- Octrooien
- Oplossingen
- Contact
- Over Novagraaf
- Over Novagraaf
- Over NovagraafUw strategische partner in IE
- Missie & visieOnze IE-experts en specialisten
- Ons ManagementteamLeiding en governance per land
- KantorenOnze locaties in Europa
- Geschiedenis en mijlpalenMeer dan 135 jaar IE-ervaring
- Maatschappelijke betrokkenheidOnze maatschappelijke initiatieven
- Over Novagraaf
- Carrière
- Log in
- Over Novagraaf
- Over Novagraaf
- Over NovagraafUw strategische partner in IE
- Missie & visieOnze IE-experts en specialisten
- Ons ManagementteamLeiding en governance per land
- KantorenOnze locaties in Europa
- Geschiedenis en mijlpalenMeer dan 135 jaar IE-ervaring
- Maatschappelijke betrokkenheidOnze maatschappelijke initiatieven
- Over Novagraaf
- Carrière
- Log in

De kracht van IE: Ergobaby
Intellectueel eigendom kan een complex terrein zijn als het gaat om de verschillende mogelijkheden van bescherming, van merken, octrooien, modellen, domeinnamen en auteursrechten. Een voorbeeld hiervan is de Ergobaby-draagzak, die laat zien hoe diversiteit in IE-bescherming bijdraagt aan het waarborgen van innovatie en creativiteit.
Twintig jaar geleden lanceerde het bedrijf Ergobaby een baby draagzak die de band tussen de ouders en het kind zou bevorderen. Het ontworpen model van de draagzak zou gemakkelijk en comfortabel in gebruik moeten zijn en zou geen negatieve effecten hebben op de zich ontwikkelende gewrichten en spieren van de baby. De Ergobaby draagzak werd later één van de beste en meest gebruikte draagzakken ter wereld.
Om de draagzak te beschermen tegen namaak, registreerde het bedrijf – meerdere – intellectuele eigendomsrechten zoals merken, octrooien en modellen. De Ergobaby-draagzak is daarmee een voorbeeld geworden hoe eigenaren hun creaties op meerdere manieren kunnen beschermen. Door verschillende IE-rechten te registreren en te “bundelen”, kunnen verschillende aspecten van creaties worden beschermd.
"Verschillende" is hier het sleutelwoord. Immers, het onderscheiden van verschillende elementen van menselijke creaties en het registreren van de meest geschikte IE-rechten om elk van deze elementen te beschermen is gebaseerd op van elkaar verschillende wetgeving en de daarin vastgelegde voorwaarden
Een succesverhaal: de Ergobaby-draagzak
In het geval van Ergobaby leidde het onderscheid tussen verschillende elementen van de draagzak tot de succesvolle registratie van een aantal IE-rechten.
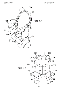
Ten eerste, heeft Ergobaby (vertegenwoordigd door het moederbedrijf The Ergo Baby Carrier, Inc. en het Europese filiaal ERGObaby Europe GmbH) een aantal octrooien laten registreren voor de draagzak. Een octrooi is een IE-recht dat kan worden verkregen voor een uitvinding die aan een aantal criteria voldoet: de uitvinding moet nieuw, inventief en industrieel toepasbaar zijn (zie bijvoorbeeld artikel 52 en 53 van het Europees Octrooiverdrag). Veel mensen geloven terecht dat een octrooi kan worden verkregen voor een bepaalde technologie, voor iets dat technisch van aard is. Zoals het Europees Octrooibureau het bepaalt, is een octrooi “een oplossing voor een bepaald technisch probleem”.
Als we naar de Ergobaby-draagzak kijken, dan heeft de technische kant betrekking op de manier waarop het product ergonomische ondersteuning biedt, zowel aan de baby als aan de persoon die het draagt. Het combineert bijvoorbeeld verschillende ondersteuningsmechanismen voor de nek, benen en dijen van de baby en talloze mogelijkheden om de draagzak aan te passen aan baby's van verschillende leeftijden. Het product biedt ook comfort aan de persoon die de baby draagt. Deze technische kant van het product is onder andere te vinden in het gedeelte 'Claims' van het octrooi en wordt geïllustreerd in de Tekeningen (zie bijvoorbeeld het Europese octrooi EP2967231A1).

Terwijl het octrooi de technische kant van de creatie beschermt, beschermt een model het uiterlijk ervan. Met andere woorden, het is niet bedoeld om te beschermen hoe het product werkt, maar hoe het eruitziet. Een model kan alleen worden verleend en dus bescherming bieden als het nieuw is en een eigen karakter heeft. Het bedrijf Ergobaby heeft een aantal modellen geregistreerd (zie hier voorbeeld model).

Ook heeft Ergobaby een aantal merken laten registreren. Merken zijn tekens waarvan de belangrijkste functie is om de waren of diensten van het ene bedrijf te onderscheiden van die van andere bedrijven. Dit teken kan bestaan uit een woord, een afbeelding, of een combinatie van beide, maar kan ook een geluid of een geur zijn. Met een merk laat een bedrijf de consument weten dat het product/de dienst die hij of zij koopt afkomstig is van dit specifieke bedrijf, wat vertrouwen geeft met betrekking tot de herkomst en de kwaliteit ervan. Ergobaby heeft, onder andere, een woordmerk ERGObaby (zie bijvoorbeeld het EUTM) en een logo (EUTM) geregistreerd:

Verschillen die ertoe doen: de Legoblokjes-zaak
Het onderscheid tussen de technische (interne) en de niet-technische (externe en uiterlijk-gerelateerde) kanten van het product, of hoe het product werkt en hoe het eruitziet, is van groot belang omdat ze verschillende vormen van IE-bescherming mogelijk maken. Het onderscheid tussen deze twee elementen van menselijke creaties is echter niet altijd eenvoudig. Het is bijvoorbeeld problematisch wanneer de technische kant van de creatie de ontwerper weinig ruimte laat voor verbeelding. Met andere woorden, wanneer de technische functie bepaalt hoe het product eruitziet.
Om dit te illustreren, kunnen we kijken naar het voorbeeld van een andere creatie die populair is bij kinderen en hun ouders: de Legoblokjes. In 2019 concludeerde het Bureau voor intellectuele eigendom van de EU (EUIPO) dat alle elementen met betrekking tot het ontwerp van de platte LEGO-blokjes werden bepaald door de technische functie van het product en daarom niet in aanmerking kwamen voor modelbescherming. Het Gerecht was het daar echter niet mee eens. Het oordeelde dat de Legoblokjes in aanmerking konden komen voor modelbescherming als ten minste één van de kenmerken niet puur functioneel is. Volgens het Gerecht was het gladde oppervlak van de bovenkant van het speelgoedblokje wel een vrije keuze van de ontwerper en werd het uiterlijk van het product daarom niet uitsluitend bepaald door de technische functie van dat product.
Nadat een octrooi op de Lego-blokjes was verlopen, heeft Lego gezocht naar andere manieren om de blokjes te beschermen, waaronder het modelrecht. Hoewel het Gerecht concludeerde dat de Lego-blokjes in aanmerking kwamen voor designbescherming, toont het ook aan dat het van groot belang is om de grens te trekken tussen een technische en een niet-technische kant van het product, en tussen verschillende niveaus van creatieve vrijheid, om een modelrecht te kunnen verkrijgen.

Verschillen die ertoe doen: de Tripp Trapp kinderstoel-zaak
Het onderscheid tussen het functionele en het niet-functionele is ook van belang voor een ander type IE-bescherming: auteursrecht. Auteursrecht beschermt werken die een oorspronkelijk karakter hebben en die het persoonlijke stempel van de auteur dragen. Echter, net als bij modellen, beschermt auteursrecht niet die elementen van werken die enkel functioneel zijn.
Dat was de conclusie van de rechtbank Den Haag in de zaak rond de – ook bij een ander geliefd product van kinderen en hun ouders – de Tripp Trapp kinderstoel. De rechtbank Den Haag oordeelde dat de Tripp Trapp stoel auteursrechtelijk beschermd is. Toch was deze beschermingsomvang beperkt en strekte zich niet uit tot de hele stoel, maar alleen tot de niet-functionele elementen, zoals de cursieve L-vorm van de staanders en balken.

Het juist onderscheiden tussen verschillende aspecten en elementen van menselijke creaties is van belang om te bepalen welk IE-recht men mag verkrijgen om ze te beschermen tegen namaak. Het maakt het ook mogelijk om een sterkere positie te hebben in rechtszaken, mochten die niet vermeden kunnen worden. Meer weten? Spreek met uw Novagraaf consultant of neem hier contact met ons op. Abonneer op onze nieuwsbrief om op de hoogte te blijven van het laatste nieuws!
Dit artikel is geschreven door Volha Parfenchyk, werkzaam op ons kantoor in Amsterdam op de afdeling Knowledge Management.